Jocec

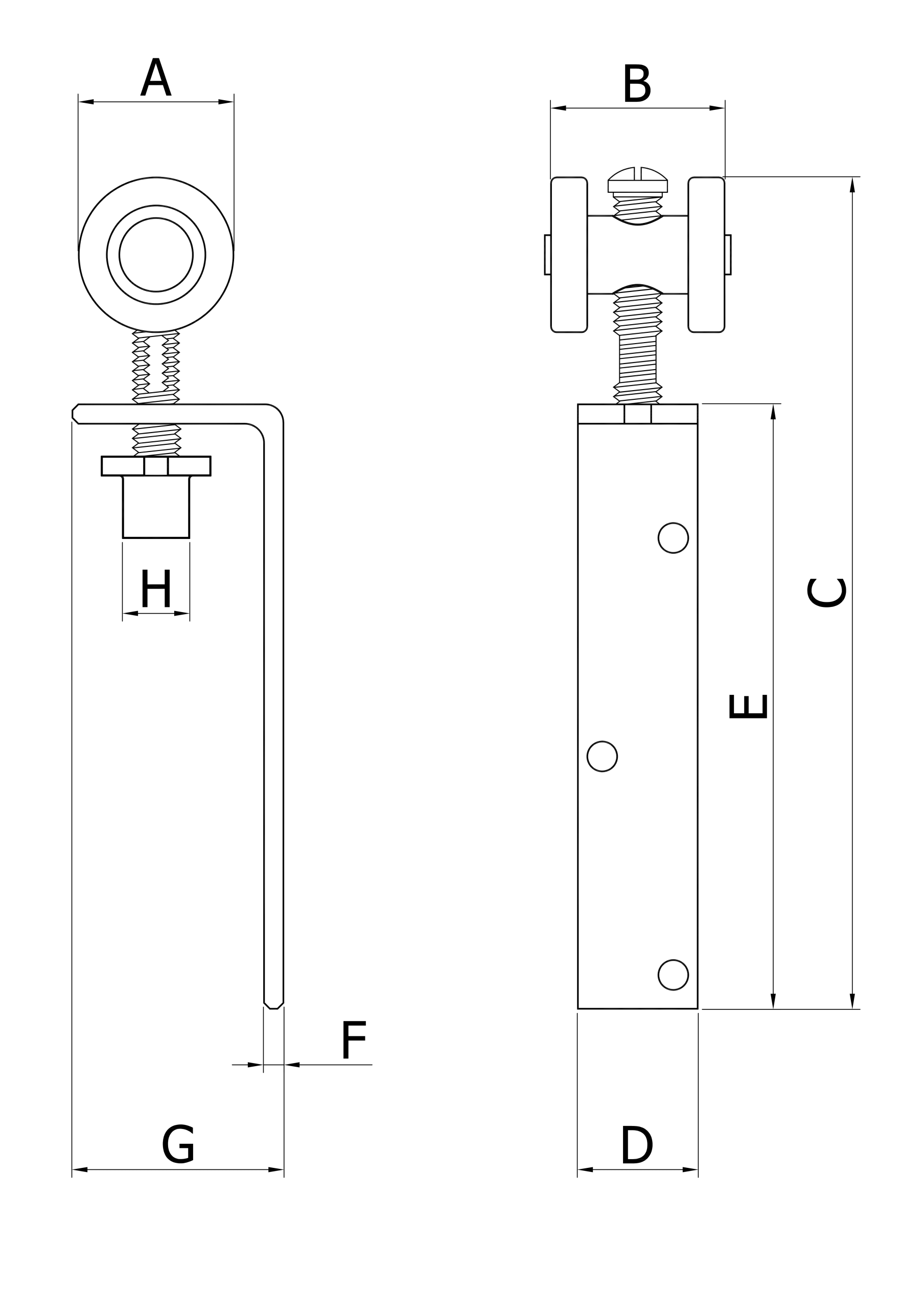
RODÍZIO DUPLO EM PP COM SUPORTE EM L ZINCADO

Tabela de Referências

SUPORTE EM L COM ACABAMENTO EM ZINCO BICROMATIZADO

COM ESFERAS

CÓDIGO REF. A B C D E F G H EMBAL. MASTER
M80L00 1 1/8” 28 28 148 19 100 1/4″ 33 10,5 50
M81L00 1 1/8” 28 29 148 19 100 1/4″ 33 10,5 50
M82L00 1 1/8” 28 29 148 19 100 1/4″ 33 10,5 50

 

Jocec

Somos referência na fabricação de ferragens e ferramentas para serralheria e construção civil. Nossa missão é desenvolver acessórios inovadores, duráveis e eficientes, facilitando o trabalho de serralheiros e construtores. Comprometidos com qualidade e excelência, seguimos aprimorando nossas soluções para impulsionar crescimento! Saiba mais em (14)3404-4111.

Aviso de Recesso

Do dia 22/12/25 até 12/01/26

Organize seus pedidos com antecedência!